当前位置:
歌谱简谱网
>
总谱
> 京调(总谱)
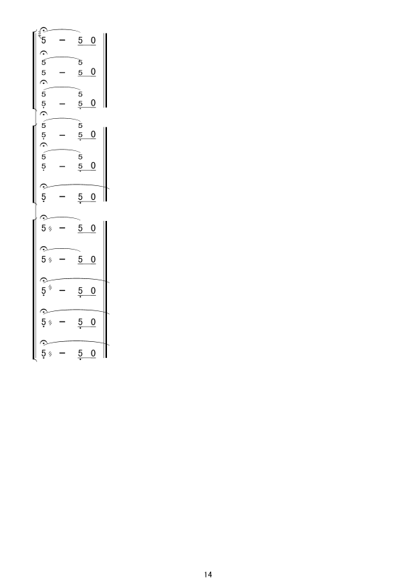
京调(总谱)
艺术家/歌手:
点击:
(bfdn00044制谱)
其他相关
简谱/曲谱
[总谱]京调(总谱)
[总谱]京调(总谱)
[其他乐谱]京调 乐队类 管弦乐总谱 顾冠仁
[总谱]京调(打击乐分谱)
[笛箫谱]京调(五级) 未知
[笛萧谱]京调
[总谱]京调(阮分谱)
[总谱]京调(中胡分谱)
[总谱]卡农 《我的野蛮女友版》总谱 未知
[总谱]《为了谁》乐队总谱
[古筝扬琴谱]喜洋洋 总谱 未知
[钢琴谱]童话总谱 光良
[总谱]京调(总谱)
[总谱]打劫爱情 大永唱
[总谱]唤凤
[总谱]东方红
[总谱]來!快樂的死
返回歌谱简谱网首页
音乐图书